KUGLASTE SLAVINE namijenjene predizolaciji
za ugradnju u toplovodne sustave temperature do 140°C i PN 25
PRIMJENA:
Ugradnja u toplovodne sustave daljinskog grijanja s funkcijom OTVARANJA / ZATVARANJA protoka fluida
OPIS:
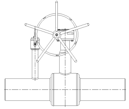
Puno varena izvedba u skladu europskoj normi EN 488 s produženim vretenom radi lakšeg nanošenja izolacije i rukovanja
Kućište:
Čelik prema normi EN 10216-2, brtve iz TEFLON +25% grafitna vlakna te iz EPDM – otporne na vruću vodu do 140°C
Dimenzije:
DN 25 – DN 350 za radni tlak PN 16 do 25 bar
POGON:
Ručno upravljanje posredstvom kombiniranog T – ključa DIN 3223C ili pužnog prijenosnika za slavine dimenzija DN 200
i veće preporučujemo pužni pogon (ostali pogoni prema zahtjevu)
ODZRAČNO DRENAŽNE SLAVINE:
Broj i dimenzije odzračno – drenažnih slavina određuje kupac prilikom narudžbe
Certifikati:
ZIK — Zavod za ispitivanje kvalitete
Tvornička svjedodžba prema europskoj normi HRN EN 10204 / 3.1
Slike raznih izvedbi tipova kuglastih slavina namijenjeni predizolaciji:
Tip: KSČZ-VV |
Tip: KSČZOJ1-VV |
Tip: KSČZOJ2-VV |
